One thing that most Big Tech companies working on smart glasses haven’t figure out yet is how to effectively interact with an augmented reality environment. Apple is heavily rumored to be working on its own pair of AR glasses and apparently considered vibrating haptic socks to tackle this problem.
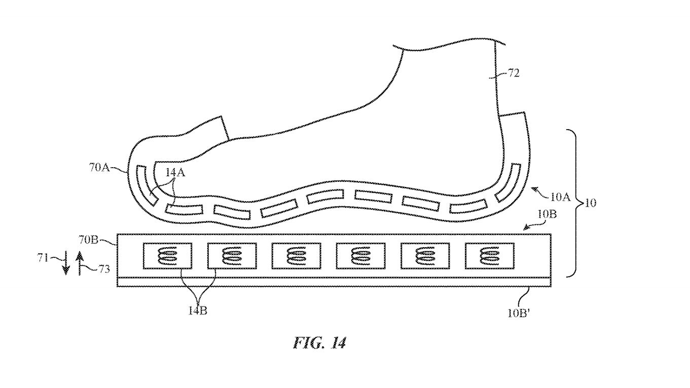
A new patent spotted by AppleInsider mainly describes a haptic output device that “may include foot-shaped structures with cavities configured to receive the feet of users.” The foot-wearable support structure would also feature an “array of haptic output components” that work to “apply feedback” to the bottom and top of a person’s foot, possibly to create a sense of movement even if the foot isn’t moving. “These forces may provide a user with a sensation of resting or sliding across a tiled surface or other surface with surface irregularities,” the patent reads.
https://gizmodo.com/facebook-details-its-dream-for-ar-glasses-and-honestly-1846441492
Technically speaking, the patent says the “foot-wearable support structure” doesn’t have to be a sock. It could also be a shoe. Or just a thing you stick your foot into. The patent is also pretty vague as to what sort of device these haptic socks (or shoes) would be giving you feedback for. It mentions joysticks, buttons, scrolling wheels, touchpads, keypads, keyboards, microphones, speakers, tone generators, vibrators, cameras, and even cooling systems. It also discusses a whole host of sensors, including ones you’d expect like force and touch sensors, as well as sensors for detecting temperature, air pressure, and moisture. Apple, it would appear, doesn’t want sweaty feet to take away from the experience of whatever it was thinking of using these buzzy socks for.
Of all the things Apple’s purportedly working on, its niche VR headset and AR smart glasses are the most likely candidates. From a gaming perspective, something like this would definitely help make an Apple headset feel more immersive. It’s a pie in the sky thought but you could theoretically use these to simulate walking without requiring a user to actually move around.

As ridiculous as vibrating socks seem, it’s not totally out of left-field either. Facebook Reality Labs, the division of the social media giant that works on its AR projects, recently published a blog detailing a similar vision of “soft wearables” to help users interact in virtual environments. Granted, Facebook was talking about gloves and wristbands, which are a bit more intuitive than, well, socks. Still, this is an extension of that same line of thinking.
You shouldn’t bet on Apple launching any sort of VR or AR device with these babies. Big Tech files patents all the time just to put their stamp on an idea before a competitor—and right now it feels like all the major players are plugging away on some kind of consumer smart glasses. But it does sort of show us where the notoriously secretive Apple’s head is at with regard to one of AR’s biggest problems. Personally speaking though, I have no intention of ever showing f**t to Apple, or any other tech company.