Before it started making all of its laptops out of aluminum, Apple offered MacBooks with a matte black finish that, so far, has been challenging to reproduce on its all metal computers. But a new patent suggests Apple has come up with a way to give its latest MacBooks a matte black finish using a clever technique that traps and prevents light from bouncing off their surface.
If you’ve purchased a MacBook recently, you know the closest thing you can get to murdering it out is Apple’s Space Gray option which is dark, but far from black. The problem is that in order to apply a color finish to a device made from aluminum its surface needs to undergo an anodizing process to provide a more adhesive surface for pigments to stick to. As Apple points out in patent no. 20200383224, anodized metals are left with a glossy finish and because of all the light they reflect, a black paint job ends up looking like dark gray instead.
https://gizmodo.com/museum-visitor-falls-into-giant-hole-that-looks-like-a-1828462859
There is one way to create a flawless black matte finish on almost any object, however, as discovered by a British company called Surrey NanoSystems. Its Vantablack paint is made from microscopic carbon nanotubes that are able to trap and absorb over 99.97% of visible light hitting it, making the finish appear so dark it’s completely invisible to the human eye. In 2018, a museum visitor famously fell into a hole painted with the Vantablack material that instead looked like a large black dot on the floor. The problem for Apple is that in 2016 artist Anish Kapoor secured the exclusive rights to using Vantablack, meaning the company can’t actually use it on its MacBooks. However, what Anish Kapoor doesn’t exclusively own is the science of how Vantablack works, and that’s what Apple’s researchers are working to recreate using other methods.

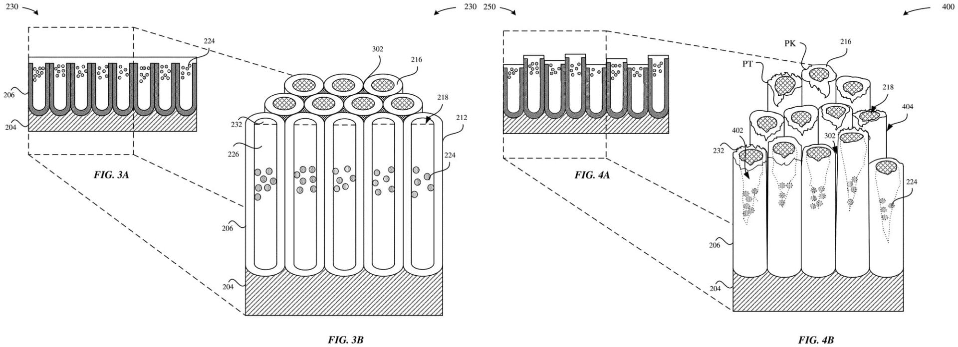
Through a process that involves anodizing the surface of a metal substrate (the aluminum lid of a MacBook, for example), infusing colored particles into the microscopic pores of the resulting metal oxide layer, and then applying a final layer of light-absorbing features, the reflectivity of the metal surface should be dramatically reduced. One example of that final step outlined in the patent involves etching a series of irregular peaks and pits, varying in height by a mere two micrometers, that cause light to get trapped and bounce off in random directions to create a more diffused reflection that has a duller matte-like appearance to the human eye.
Without a glossy shine, embedded colored pigments, like black, would have a more pronounced appearance so that Apple would no longer be limited to Space Gray as its darkest tinting option. Would the dark finish be as dramatic in appearance as Vantablack that’s so dark it hides all physical features on an object? No, but Apple probably doesn’t want that either given how much it likes to promote its design prowess and let the physical features of its devices stand out. This would be more of a middle of the road approach that borrows some of the Vantablack techniques so that future iPhones and MacBooks would retain the strength and durability of their aluminum frames but could offer brightly colored options like Apple’s fruit-themed iMacs of yesteryear.