Self-adjusting Apple Watch Bands

Remember the Nike shoes in Back to the Future? The ones with self-fastening laces? Think of those, but in watch form.
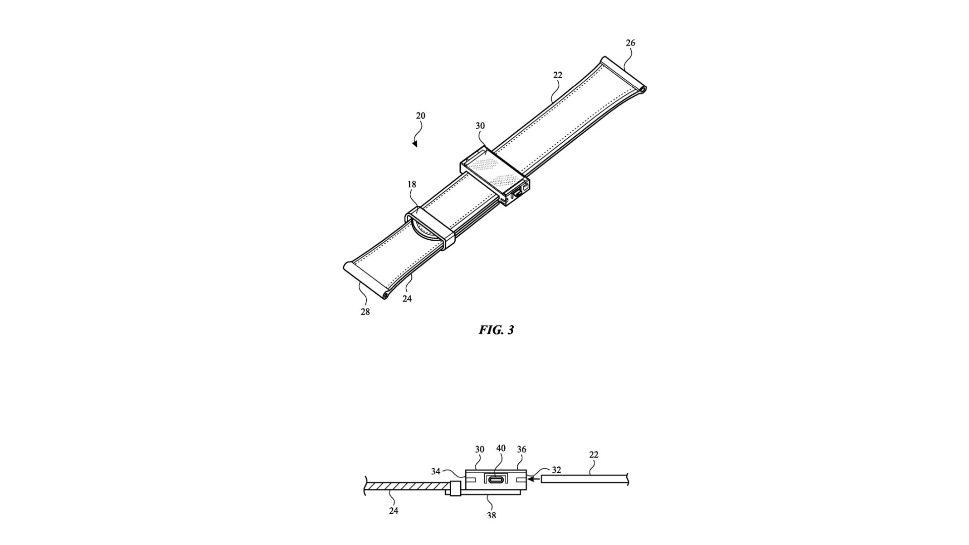
In 2017, Apple filed a patent for a self-adjusting watchband, which would automatically tighten or loosen based on biometric data collected by the watch. It could be made from Nitinol, an elastic metal alloy that can adjust and maintain its shape. Other ideas include an internal ratcheting system or gas/fluid bladders.
This isn’t the only bizarre Apple Watch patent. The company also looked at ways to put a camera in its wearable.