Skip to content
Tech News

10 Bizarre and Horrifying Sex Patents (NSFW)

By

Reading time 6 minutes

Comments (0)

Depending on who you talk to, the future of sex may be teledildonics. Or virtual reality. Or painfully hot fleshlights. But the one thing almost everyone can agree upon? The future of sex is not a pump-action dildo you strap to your chin. Nor is it any of these other bizarre, terrifying, and wonderfully weird sex-improving patent hopefuls.

We scoured Google’s patent database to find the most absurd—and often wildly dangerous—sex-based patent designs filed by some of history’s most misguided engineers. But with sex-crazed humans being as innovative as they are, there are undoubtedly some horrific sex add-ons we’ve missed. Know of one yourself? Share it with the class below. Please, this is a safe space.


Water massage apparatus

Otherwise known as: Hot tub dildo machine

Filed: January 9, 1900

How it would work in a perfect world:

This invention relates to improvements in an apparatus to be used for therapeutically treating or administering to the human body or organization or portions thereof a massage treatment, and while it is more especially designed for the use of women in the treatment of diseases peculiar to the female sex, yet it may be employed by men.

How it would actually work: Restless women diagnosed with “hysteria” get to sit on a communal dildo inside a communal hot tub, share communal yeast infections.


Oscillating intercourse simulator

Otherwise known as: Dildo battering ram

Filed: June 18, 2003

How it would work in a perfect world:

The artificial penis is propelled by the oscillating pendulum. The pendulum is driven by the crankshaft with the electric motor. To adjust the oscillating amplitude, slide the crankshaft up, or down, along the pendulum. When the crankshaft slides up, the oscillating amplitude increases; when it slides down, the amplitude decreases.

How it would actually work: While we’re not entirely sure why the artificial penis has to be depicted in two pieces, we assume it is due to the sheer force of the motorized battering ram. In which case, death by dildo.


Sex toy has cavity with cavity opening and closure provided on cavity opening, where one or multiple meaningful materials or objects are formed in cavity

Otherwise known as: The best way to fuck a flower

Filed: December 28, 2010

How it would work in a perfect world:

One or multiple meaningful materials or objects are formed in the cavity. The cavity wall areas or partial areas have mutually different transparencies. The sex toy is integrally formed from a material or from multiple parts or materials. The sex toy is partially or totally made from liquid-tight material, which is stretchable or solid, particularly jelly, silicone, plastic, wood, metal, glass or acrylic glass.

How it would actually work: From the text itself, it would seem that what you are getting is a clear dildo. That way, you can insert the photo/flower/lock of hair/actual human appendage of your choosing and proceed to have sex with it without actually inserting flowers/loose hair into your body. The diagrams, however, imply something far more complex.

Presumably, mud flaps are optional.


Thrusting rod

Otherwise known as: Pump-action face penis

Filed: August 5, 1999

How it would work in a perfect world:

The piston rod has an initial position in which a first cylinder space is at a maximum and a second cylinder space is at a minimum and an extended position in which the first cylinder space is at a minimum and the second cylinder space at a maximum. A pump supplies a fluid under pressure to move the piston rod in an extending direction.

How it would actually work: Eternal loneliness.


Method and device for inducing erotic stimulation while asleep

Otherwise known as: Sleep timer vibrator

Filed: September 18, 2010

How it would work in a perfect world:

A vibration device for inducing erotic stimulation at a pre-set time, including a housing, a power source for powering the vibration device; a timing unit; including timer control circuitry disposed within the housing and electrically coupled to the power source, an offset weight driven by a motor and powered by the powering source to generate vibrations and impart a vibratory motion to a region of the body at the pre-set time.

How it would actually work: You are perpetually tired after your terrible night’s sleep of being periodically woken up by the violent metal vagina alarm clock inside your body.


Device for protection against infectious diseases

Otherwise known as: Body condom

Filed: June 29, 1990

How it would work in a perfect world:

The present invention concerns a device for protection against transmissible diseases consisting of an outside covering made of a flexible plastic material, preferably transparent, covering a part at least of the body and comprising means (9) for attaching a sheath (4). It also relates to a sheath for implementation on such protection device. Application for combating infectious diseases.

How it would actually work: You successfully live your entire life knowing neither ebola nor the touch of another human being.


Rotating sex machine

Otherwise known as: Rotating sex machine

Filed: July 9, 2010

How it would work in a perfect world:

The horizontal support and bearing assembly are designed so that this axis of rotation is coaxial with the longitudinal axis of thesex organ of the female when she is supported on the horizontal support in the supine position. The heights of the horizontal support and base are adjustable. Thus the height of the female’s sex organ can be adjusted for penetration by a male partner’s sex organ when the male partner is standing at the correct end of the horizontal support.

How it would actually work: The same way having sex with someone getting a CAT scan works.


Feminine napkin allows external sexual intercourse

Otherwise known as: Sex pad

Filed: June 22, 1995

How it would work in a perfect world:

A round bag is attached to the front side of the napkin. The bag is in the size and shape of the vagina to give the husband the same sexual feelings. The round bag has an opening and rings, windings and protrusions, as well as a suitable cream. This bag has also a downward extension for fixing the napkin on the vagina opening when the woman lies on her back. The fixing extension is placed between the rumps and may be coated by an adhesive material. The round bag can be taken off the napkin and disposed while continuing to use the napkin.

How it would actually work: What do you mean you don’t want to put your penis inside my menses sex bag?!? Where are you going?!?


Erotic simulator

Otherwise known as: Mechanical Gene Simmons

Filed: December 13, 1995

How it would work in a perfect world:

The stimulator comprises a flexible, elongated member having a mouthpiece at its base end whereby a user can manipulate the stimulator while leaving the hands free during gynecological stimulation with the device. The device has a plurality of raised projections on its surface to provide enhanced stimulation to the more sensitive areas of the female anatomy.

How it would actually work: I don’t entirely know, but according to the patent “the demand for such products is indisputable.”

Well in that case. Sold!


Breast development apparatus

Otherwise known as: Boob plunger

Filed: November 4, 1974

How it would work in a perfect world:

A breast development apparatus consisting of a set of identical plungers each having a handle and a resilient hemi-spherical cup member with a foam lining disposed completely about the interior surface thereof, the apparatus adapted to have the cups placed over a woman’s breasts and, through manipulation thereof by use of the handles in a back and forth direction create suction with the body surrounding the breast to draw the breast into the cup to stimulate the breast and to enhance and develop the size of the breast through frequent exercise thereof.

How it would actually work: Answering endless uncomfortable questions about where those bruises came from.


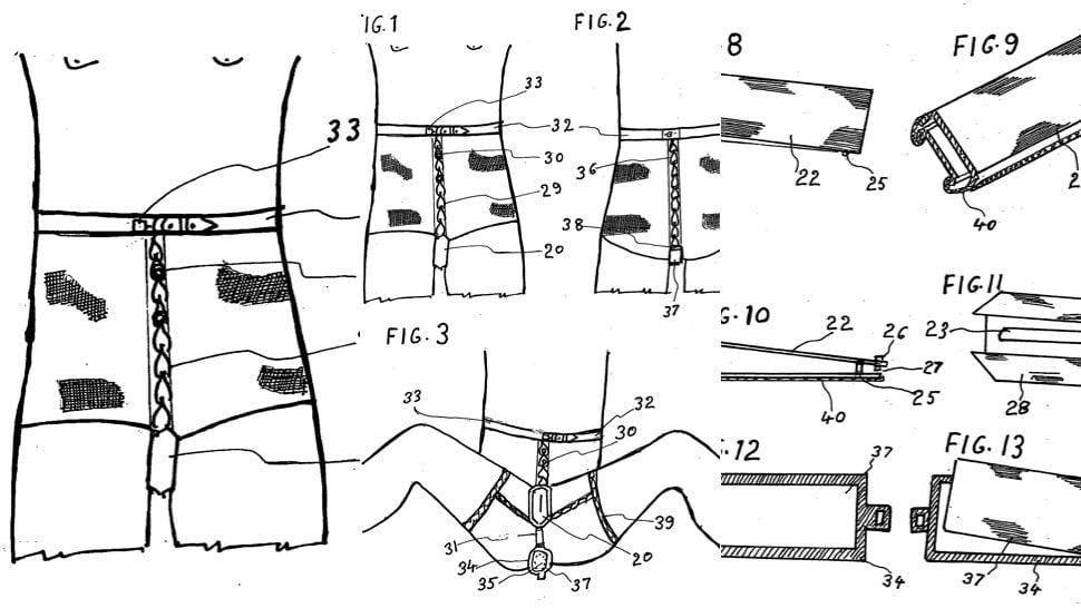
Bonus: Security underwear device for sexual organs

Otherwise known as: ???

How it would work in a perfect world:

The devise is made up of one cover for the genital and another cover for anal opening and they can be worn either separately or in combination. Additional attachments stop the approaching male genital from getting in touch with the female genital. Assembly of both units is worn like a bikini and locked on to a steel belt around the waist. Both major components of the device can open on their own and close as needed. Therefore the wearer can urinate and pass stool without taking off the device. All components of the device are made of materials too hard to cut or break.

How it would actually work: Once again, eternal loneliness.

Animation by Jim Cooke

Explore more on these topics

Share this story

Sign up for our newsletters

Subscribe and interact with our community, get up to date with our customised Newsletters and much more.