Vibrating VR Socks

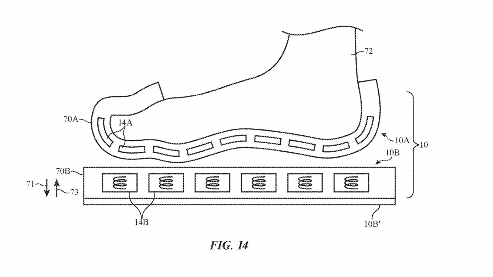
Unless rumors from multiple reliable sources are wrong, Apple is working on its own AR/VR headset. It’s also toying with the idea of a device for the other end of your body; as a 2021 patent reveals, Apple is looking into “haptic output devices” for your feet. They don’t technically need to be socks or shoes—this could arrive in the shape of something you stick to your skin.
In any case, the goal is to give VR users the sensation of walking on different surfaces or moving in different directions while actually staying in place. The company talks about all sorts of sensors and inputs it could potentially include to add another layer of immersion to its upcoming VR experience.