I am honestly too tired to clean my house. I used to pride myself on being the tidiest, bleached-out house on the block. It always smelled like Fabuloso in here. But then I had a child, and that all went out the window as I reclaim what little time I have to myself and my mechanical keyboard building hobby.
This is why I am fairly certain that I’m the target demographic for a Dyson robot vacuum that can climb stairs. Bloomberg reports that the vacuum-maker has spent 16 years developing a robot vac that can clean and climb stairs at the same time. The details, revealed in patents published this week overseas, show the Dyson bot can hold cups and open drawers. The only thing that’s not clear is whether this project is still in the planning stages or if it’s just an idea filed away for later.

Dyson often works on projects outside of its usual scope. From hair straighteners to toothbrushes, the company seems eager to take over your home. But, of course, the stair-climbing robot hasn’t yet been confirmed to be a real product.
“We file a lot of patents,” a spokesperson for Dyson told Bloomberg. “But we never comment on technologies we may or may not launch in the future.”
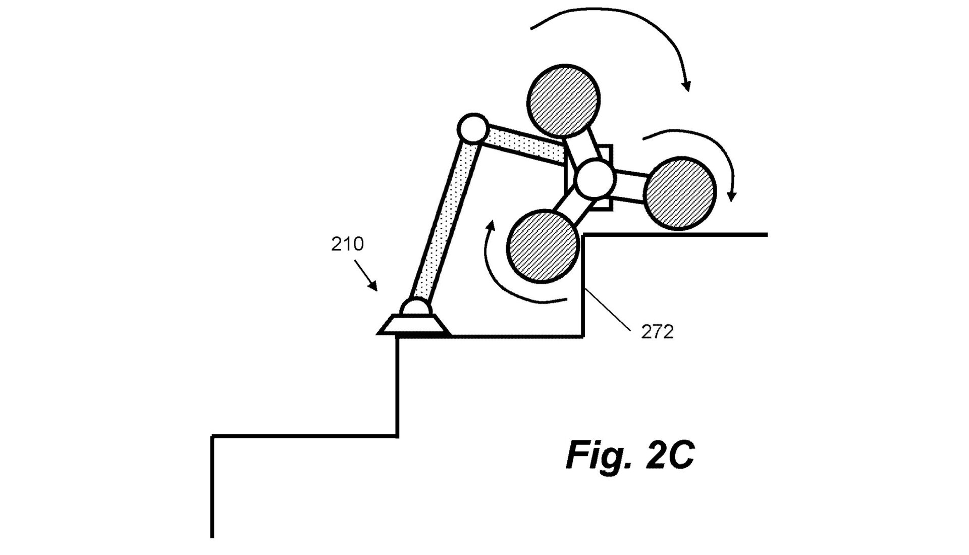
From the looks of the patent filed in the UK, the Dyson robot vacuum wouldn’t be a scary-looking anthropomorphic-type robot. Instead, the diagrams make it look like one of those old-school vacuums with wheels for feet and extendable arms. As described in the patent filing (PDF link):
Track-laying climbing mechanisms are installed on two sides of a main frame and an attached frame. A bottom plate is installed under the middle of the main frame, and a baffle is installed on the rear end of the bottom plate in a hinged mode. When the robot is going upstairs or downstairs, the robot and the stair climbing device meet and the baffle is lowered to the ground. The robot climbs up the bottom plate through the baffle, and then the baffle turns up and stands upright to block the robot. After going up or down, the baffle is lowered to the ground, and the robot crawls through the baffle to the floor.

I’m not one to typically advocate for a robot future without any skepticism. But at the same time, I want a vacuum that can climb the stairs. There are additional details on the “grabbing” nature of the vacuum’s arms, and the patent seems to suggest it exists primarily to “control orientation.” But considering it’s supposed to be able to grab a mug, I’d like to see it push aside a dining chair or straighten a rug. My biggest annoyance with the current robot vacuums is that you still have to watch them to ensure they don’t get stuck under furniture or on the yarn hair of a beloved doll left behind on the floor.
All of this sounds fine if it means that the robot vacuum can go down the steps into the living room, turn back around, and then head up the stairs to do the rest of the cleaning. However, I’ll probably have to wait for a few generations before I can even afford such an advanced vacuum. I tend to buy Dyson products second-hand or refurbished because it’s often more affordable than buying a new unit outright. And by then we should know whether the stair-climbing robot has become sentient and overthrown us all.