Skip to content
Tech News

Apple, Please Don’t Cram Stuff Into the Apple Watch Band

By

Reading time 3 minutes

Comments (0)

If patents are to be believed, Apple is potentially mulling moving wireless antennas into the bands of future Apple Watches. The idea is, doing so would free up space in the watch case for other components. This sounds great on paper, and while of course I’d love to see a bigger battery in the Apple Watch, I’m begging you, Apple—please, don’t do it.

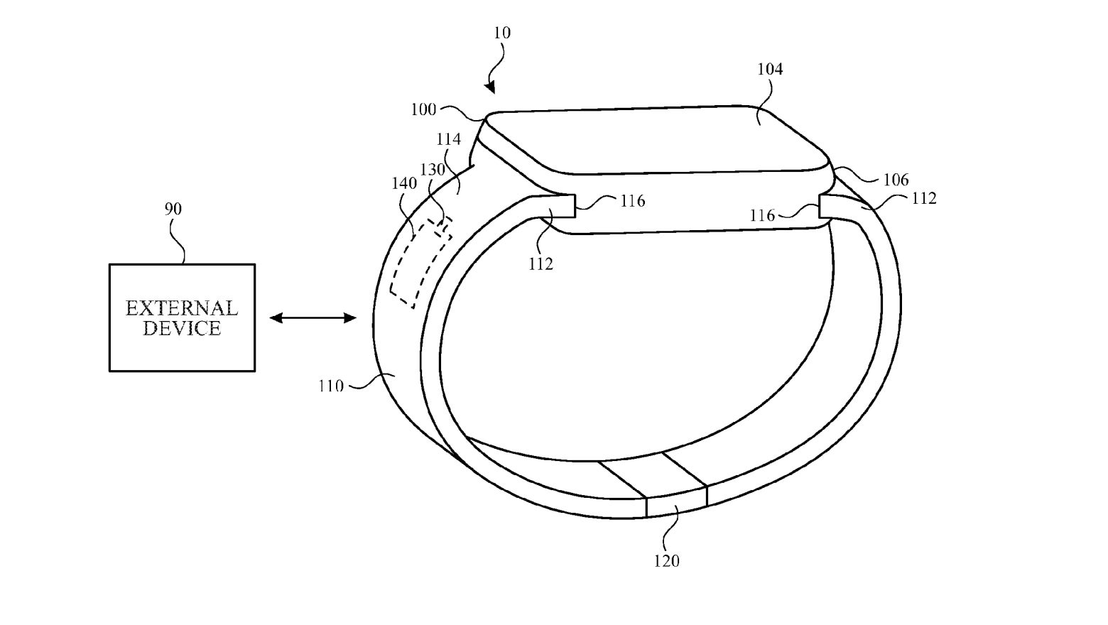
The patent in question was originally filed in May 2018 and made public on Thursday. In it, Apple writes, “In many traditional watches, neither the watch body nor any other device interacts with the watch band. Instead, the watch body operates independently or does not interact with the watch band while communicating with any other external device. The operating components of the watch body can be protected within a rigid housing.”

That pretty much describes most smartwatches as we currently know them. And, for as long as smartwatches have been around, there’s always been the problem of figuring out how to cram the best components into as small a form factor as possible. That’s why many full-featured watches are chunky eyesores, and why more fashionable choices tend to be light on advanced features. However, Apple goes on to note that “it can be desirable to provide certain components outside the rigid housing to more effectively utilize the space within the housing.”

https://gizmodo.com/will-we-ever-get-multi-day-battery-life-on-the-apple-wa-1838045793

The patent then goes on to detail watch bands that could “stretch, bend, and flex” with embedded antennas that would enable it to communicate with other devices and protect it from external environments.

That’s all well and good, but with all due respect, we’ve seen a smartwatch that crammed antennas into the watch band before: the LG Watch Sport. This hulking behemoth was a pain to wear. The bands were extremely stiff, probably to protect the components. That meant it was an ill-fitting, downright uncomfortable watch, especially if you had a more petite wrist. The worst part was, because the band contained essential components, there wasn’t an option to swap out the default band. You had to just put up and shut up.

Of course, Apple acknowledges this problem in the patent, too. “Because watch bands stretch, bend, and flex to conform to a wrist of a user, any components contained therein are subjected to forces that can potentially damage such components,” Apple explains. “Attempts to reinforce these components with durable housings can reduce the ability of the watch band to be compliant and comfortably conform to the wrist of the user.” The patent then goes on to say its watch bands would be able to flex and bend, protect the components from damage, while being still comfortable for users to wear.

Big, if true. For argument’s sake, let’s say Apple manages to find a way to guarantee that the embedded antennas are sturdy enough to survive bending and the bands are actually comfortable enough to wear. Great. That could be an innovative way to solve the inherent space constraints with wearables. It also raises another question: Would you still be able to swap watch bands?

While not every smartwatch owner is finicky about aesthetics, I’ve read enough comments on the topic to know that plenty are. Modular watch bands are a way to express personal style, but also a practicality. Silicon or nylon straps are preferable for sports, but if you have sensitive skin, a leather option might be better for everyday wear. Which brings me to my next point: Even if Apple found a way to keep the straps modular, embedding proprietary tech into the bands means it’d be much harder to go to a third-party accessory seller. And we all know how much Apple loves third-party accessories.

The more likely scenario is you’d have to buy Apple’s bands at Apple’s prices. Given that Apple charges a minimum of $50 for watch bands with no tech in them, I don’t even want to think what bands embedded with essential tech would retail for. (For the record, you can get perfectly nice Apple Watch bands for as little as $10-$15 on Amazon.)

Apple is clearly thinking about doing something with the watch bands. On top of this patent, it also filed another that would add electrical and data contacts into the bands to power more sensors. Then again, Apple also files a horde of patents every week just to cover its bases. It’s very possible that these ideas will never see the light of day. But if they do, the features better be worth it.

Share this story

Sign up for our newsletters

Subscribe and interact with our community, get up to date with our customised Newsletters and much more.