Microsoft hasn’t quite stuck the landing with its Surface Duo folding smartphone attempts, but the company is already eyeing the next major advancement, and it could be as simple as adding another screen.
A patent discovered by Patently Apple suggests Microsoft is toying with the idea of creating a smartphone with three displays and two hinges. It’d look something like a trifold wallet, or a triptych for you history buffs out there.
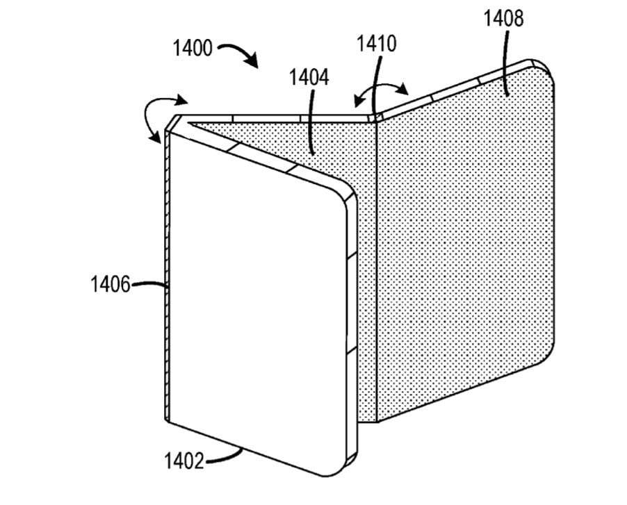
The concept is essentially the current Surface Duo with a third panel connected to one of the screens by a second hinge. This way, you get even more screen real estate when the device is completely unfolded, yet the phone wouldn’t be much larger than current foldable models because the three panels would stack on top of each other.

But it would, we assume, be pretty damn thick and heavy—so chunky that it might not be the sort of thing you can comfortably hold in your hand or keep in your pocket. So hopefully by the time this device sees the light of day—which probably won’t be anytime soon, if at all—Microsoft finds a way to trim down each layer of this smartphone cake. Remember, Microsoft’s Surface Duo opens and closes at a central hinge rather than using a foldable display, like the Samsung Galaxy Z Fold 3.
Impracticality of this thing aside, I’m rooting for Microsoft’s tri-headed beast to make its way onto the market if only for the sheer absurdity of it all. Who wouldn’t want a play with a phone that could transform into a 10-inch (or larger) tablet with a motion that’s as easy as opening your wallet? Sure, fiddling with two hinges may sound too fussy, and dual-screen phones are already too cumbersome for some folks, but I’m here for the chaos.
Plus, one of the downsides of the current Surface Duo is that there is no screen on the exterior. Microsoft added a Glance Bar to the Surface Duo 2 so you can quickly view notifications, but you still need to use two hands to open the phone before you can use it. This patent could solve this limitation with a third screen that faces outward so you could use the Surface Trio (?) like a normal smartphone when you don’t need three panels overwhelming you with information.
It turns out Microsoft isn’t the only company considering a tri-screened phone. Uncovered by LetsGoDigital, Samsung in mid-June filed a patent with the WIPO (World Intellectual Property Organization) describing a similar device with three displays that can fold into a Z shape. Samsung showed us what this fantasy device might look like in a brief video posted to YouTube earlier this year.
Even more tangible is TCL’s trifold concept, which we called “awkward and incredibly cumbersome” but found the ability to unfold the phone into a large tablet “pretty impressive.”
While we typically caution you from getting excited about concepts described in patents, enough of the big players are tinkering with three-screen phones to suggest one could find its way onto the market—whether this is a good idea or not.